专利数据库
统计分析
产业报告
专利数据监控
产业人才
行业动态
产业政策法规
维权援助
个人中心
详情
文本
图像
标题
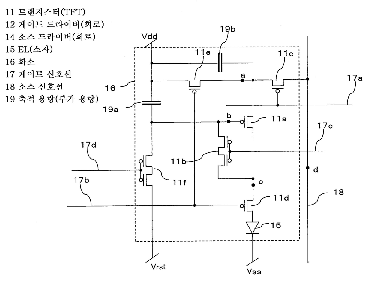
EL 표시 장치
授权日
2011-04-28
公开(公告)号
KR101033365B1
申请日
2009-02-12
公开(公告)日
2011-05-09
当前申请(专利权)人
가부시키가이샤 저팬 디스플레이 센트럴
发明人
다까하라히로시 | 쯔게,히또시
简单同族
JP2009276744A | JP2009276744A5 | KR101033365B1 | KR1020090087831A | US20090201231A1
简单同族成员数量
5
简单同族被引用专利总数
162
诉讼案件数
0
法律状态/事件
授权
抱歉,您的浏览器不支持PDF预览,请点击链接下载PDF文件