专利数据库
统计分析
产业报告
专利数据监控
产业人才
行业动态
产业政策法规
维权援助
个人中心
详情
文本
图像
标题
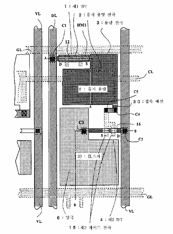
EL 표시 장치
授权日
1900-01-01
公开(公告)号
KR1020010050803A
申请日
2000-10-02
公开(公告)日
2001-06-25
当前申请(专利权)人
산요덴키가부시키가이샤
发明人
NISHIKAWA,RYUJI
简单同族
JP2001109404A | KR100354639B1 | KR1020010050803A | TW508974B | US20050082540A1 | US6958740 | US7122832
简单同族成员数量
7
简单同族被引用专利总数
147
诉讼案件数
0
法律状态/事件
授权
抱歉,您的浏览器不支持PDF预览,请点击链接下载PDF文件