专利数据库
统计分析
产业报告
专利数据监控
产业人才
行业动态
产业政策法规
维权援助
个人中心
详情
文本
图像
标题
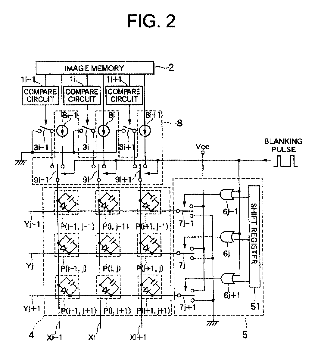
Driving device and driving method of organic thin film EL display
授权日
1900-01-01
公开(公告)号
EP1091340A3
申请日
2000-10-04
公开(公告)日
2002-12-04
当前申请(专利权)人
NEC CORPORATION
发明人
IKETSU, YUICHI | SAKAGUCHI, YOSHIKAZU
简单同族
DE60038348D1 | DE60038348T2 | EP1091340A2 | EP1091340A3 | EP1091340B1 | JP2001109428A | JP3341735B2 | KR100380826B1 | KR1020010050818A | US6369516
简单同族成员数量
10
简单同族被引用专利总数
104
诉讼案件数
0
法律状态/事件
授权
抱歉,您的浏览器不支持PDF预览,请点击链接下载PDF文件