专利数据库
统计分析
产业报告
专利数据监控
产业人才
行业动态
产业政策法规
维权援助
个人中心
详情
文本
图像
标题
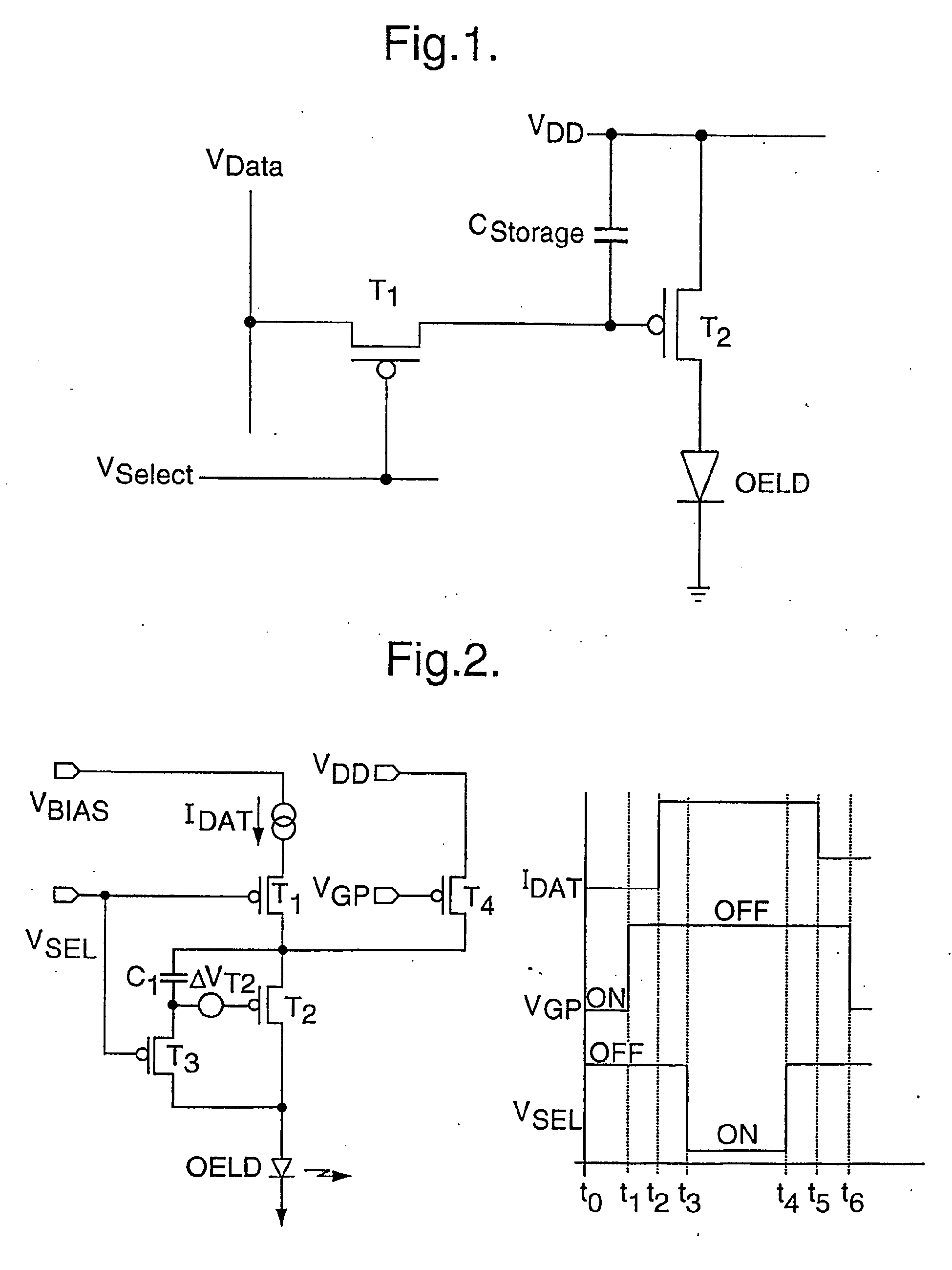
Current driven electrooptical device, e.g. organic electroluminescent display, with complementary driving transistors to counteract threshold voltage variations
授权日
2011-09-14
公开(公告)号
EP1170719B1
申请日
2001-07-09
公开(公告)日
2011-09-14
当前申请(专利权)人
SEIKO EPSON CORPORATION
发明人
TAM, SIMON
简单同族
AT524804T | CN100481185C | CN1221933C | CN1388952A | CN1658266A | CN1877680A | EP1170719A1 | EP1170719B1 | TW200302444A | TWI277056B | TWI282080B | US20020021293A1 | US6919868 | WO2002005255A1
简单同族成员数量
14
简单同族被引用专利总数
132
诉讼案件数
0
法律状态/事件
授权
抱歉,您的浏览器不支持PDF预览,请点击链接下载PDF文件