专利数据库
统计分析
产业报告
专利数据监控
产业人才
行业动态
产业政策法规
维权援助
个人中心
详情
文本
图像
标题
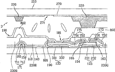
液晶显示器、所用的薄膜晶体管阵列板及其制造方法
授权日
1900-01-01
公开(公告)号
CN1540426A
申请日
2004-04-05
公开(公告)日
2004-10-27
当前申请(专利权)人
三星显示有限公司
发明人
金东奎
简单同族
CN100378555C | CN1540426A | JP2004310099A | JP4977308B2 | KR100935670B1 | KR1020040087067A | TW200424719A | TWI366052B | US20040195573A1 | US20070164286A1 | US7202498 | US7632692
简单同族成员数量
12
简单同族被引用专利总数
81
诉讼案件数
0
法律状态/事件
授权 | 权利转移
抱歉,您的浏览器不支持PDF预览,请点击链接下载PDF文件