专利数据库
统计分析
产业报告
专利数据监控
产业人才
行业动态
产业政策法规
维权援助
个人中心
详情
文本
图像
标题
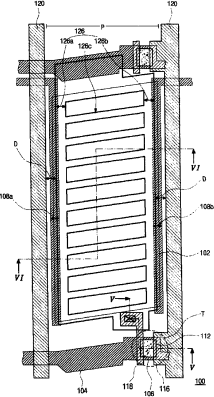
共平面开关模式液晶显示器件的阵列基板及其制造方法
授权日
1900-01-01
公开(公告)号
CN1991548A
申请日
2006-12-15
公开(公告)日
2007-07-04
当前申请(专利权)人
乐金显示有限公司
发明人
金度成 | 安炳喆
简单同族
CN100480822C | CN1991548A | JP2007183628A | JP4718433B2 | KR100978369B1 | KR1020070070723A | US20070153204A1 | US20100173435A1 | US7710526 | US8835925
简单同族成员数量
10
简单同族被引用专利总数
56
诉讼案件数
0
法律状态/事件
授权
抱歉,您的浏览器不支持PDF预览,请点击链接下载PDF文件