专利数据库
统计分析
产业报告
专利数据监控
产业人才
行业动态
产业政策法规
维权援助
个人中心
详情
文本
图像
标题
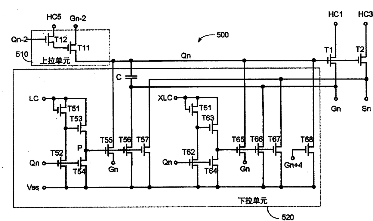
运用于电荷分享像素的整合面板型栅极驱动电路
授权日
1900-01-01
公开(公告)号
CN102184719A
申请日
2011-04-25
公开(公告)日
2011-09-14
当前申请(专利权)人
友达光电股份有限公司
发明人
苏国彰 | 陈勇志 | 杨欲忠 | 林致颖
简单同族
CN102184719A | CN102184719B | TW201227655A | TWI426486B | US20120153996A1 | US9087596
简单同族成员数量
6
简单同族被引用专利总数
76
诉讼案件数
0
法律状态/事件
授权
抱歉,您的浏览器不支持PDF预览,请点击链接下载PDF文件