专利数据库
统计分析
产业报告
专利数据监控
产业人才
行业动态
产业政策法规
维权援助
个人中心
详情
文本
图像
标题
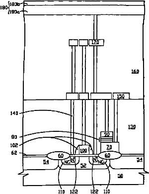
硅基液晶显示背板的结构与制作方法
授权日
2007-10-24
公开(公告)号
CN100345170C
申请日
2002-12-02
公开(公告)日
2007-10-24
当前申请(专利权)人
联华电子股份有限公司
发明人
陈荣庆 | 杨恩旭 | 蔡元礼 | 黄清俊 | 杨胜雄
简单同族
CN100345170C | CN1435718A | US20030143768A1 | US6797983
简单同族成员数量
4
简单同族被引用专利总数
61
诉讼案件数
0
法律状态/事件
授权
抱歉,您的浏览器不支持PDF预览,请点击链接下载PDF文件