专利数据库
统计分析
产业报告
专利数据监控
产业人才
行业动态
产业政策法规
维权援助
个人中心
详情
文本
图像
标题
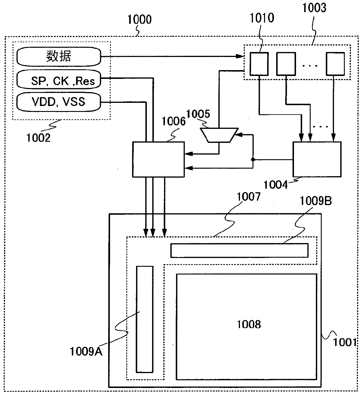
显示设备
授权日
1900-01-01
公开(公告)号
CN110824800A
申请日
2010-09-28
公开(公告)日
2020-02-21
当前申请(专利权)人
株式会社半导体能源研究所
发明人
山崎舜平 | 小山润 | 三宅博之 | 津吹将志 | 野田耕生
简单同族
CN102576518A | CN106200185A | CN110824800A | CN110908203A | EP2489032A1 | EP2489032A4 | EP2489032B1 | EP3244394A1 | JP2011141523A | JP2011141523A5 | JP2015096981A | JP2017021370A | JP2017021370A5 | JP2017142530A | JP2017167546A | JP2018136548A | JP2019185055A | JP5882572B2 | JP6016957B2 | JP6229088B2 | JP6553763B2 | KR101844080B1 | KR101933841B1 | KR101988819B1 | KR1020120099228A | KR1020180031807A | KR1020190000382A | KR1020190065470A | KR1020200021554A | KR102081795B1 | TW201207827A | TW201610972A | TWI604428B | TWI613637B | US10061172 | US10310348 | US20110090204A1 | US20180364510A1 | WO2011046032A1
简单同族成员数量
39
简单同族被引用专利总数
98
诉讼案件数
0
法律状态/事件
实质审查
抱歉,您的浏览器不支持PDF预览,请点击链接下载PDF文件