专利数据库
统计分析
产业报告
专利数据监控
产业人才
行业动态
产业政策法规
维权援助
个人中心
详情
文本
图像
标题
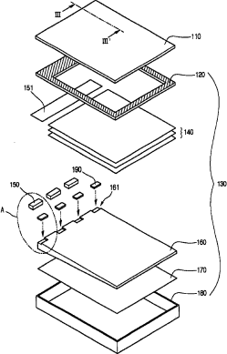
背光组件和具有背光组件的液晶显示装置
授权日
1900-01-01
公开(公告)号
CN101097340A
申请日
2006-11-01
公开(公告)日
2008-01-02
当前申请(专利权)人
乐金显示有限公司
发明人
吴智淳
简单同族
CN101097340A | CN101097340B | KR100920118B1 | KR1020080001753A | US20080002099A1 | US7548287
简单同族成员数量
6
简单同族被引用专利总数
80
诉讼案件数
0
法律状态/事件
授权 | 权利转移
抱歉,您的浏览器不支持PDF预览,请点击链接下载PDF文件