专利数据库
统计分析
产业报告
专利数据监控
产业人才
行业动态
产业政策法规
维权援助
个人中心
详情
文本
图像
标题
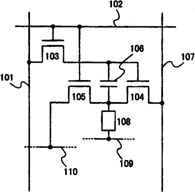
显示器件及其驱动方法
授权日
1900-01-01
公开(公告)号
CN1419228A
申请日
2002-11-13
公开(公告)日
2003-05-21
当前申请(专利权)人
株式会社半导体能源研究所
发明人
木村肇
简单同族
CN100350447C | CN101042840A | CN101042840B | CN101127188A | CN101127188B | CN1419228A | EP1310937A1 | EP1310937B1 | EP2302614A2 | EP2302614A3 | EP2302614B1 | EP2309479A2 | EP2309479A3 | EP2309479B1 | JP2009163268A | JP2009163268A5 | JP2012123405A | JP2013167880A | JP2013178528A | JP2013238861A | JP2014160270A | JP2015165305A | JP2015172754A | JP2016122193A | JP2016128916A | JP2016173580A | JP2016191930A | JP2016224452A | JP2018116284A | JP2019135550A | JP2019135550A5 | JP2019148802A | JP5171721B2 | JP5448275B2 | JP5648088B2 | JP5973025B2 | JP6077582B2 | JP6126678B2 | JP6126711B2 | JP6247716B2 | JP6315718B2 | JP6570676B2 | KR100914187B1 | KR100930083B1 | KR100940342B1 | KR1020030040056A | KR1020070110242A | KR1020070116763A | TW200303498A | TW200818100A | TW201023145A | TW201222515A | TW201337883A | TW201523560A | TW201727610A | TW201818553A | TW201935698A | TWI348674B | TWI364740B | TWI364741B | TWI576808B | TWI576810B | TWI587269B | TWI608468B | TWI685114B | US10128280 | US20030090481A1 | US20070210720A1 | US20120327059A1 | US20130228783A1 | US20180138215A1 | US20190181162A1 | US8059068 | US8242986 | US8508443 | US9825068
简单同族成员数量
76
简单同族被引用专利总数
378
诉讼案件数
0
法律状态/事件
授权
抱歉,您的浏览器不支持PDF预览,请点击链接下载PDF文件