专利数据库
统计分析
产业报告
专利数据监控
产业人才
行业动态
产业政策法规
维权援助
个人中心
详情
文本
图像
标题
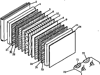
具有薄偏振膜和薄相位延迟膜的液晶显示器件
授权日
2008-06-18
公开(公告)号
CN100395626C
申请日
2005-07-27
公开(公告)日
2008-06-18
当前申请(专利权)人
株式会社帕沃那
发明人
李性中
简单同族
CN100395626C | CN1727957A | KR100483352B1 | US20060023143A1 | US20090310044A1 | US20110176075A1 | US20120162552A1 | US20120162553A1 | US7940342 | US8184216 | US8233104 | US8269904
简单同族成员数量
12
简单同族被引用专利总数
96
诉讼案件数
0
法律状态/事件
授权
抱歉,您的浏览器不支持PDF预览,请点击链接下载PDF文件