专利数据库
统计分析
产业报告
专利数据监控
产业人才
行业动态
产业政策法规
维权援助
个人中心
详情
文本
图像
标题
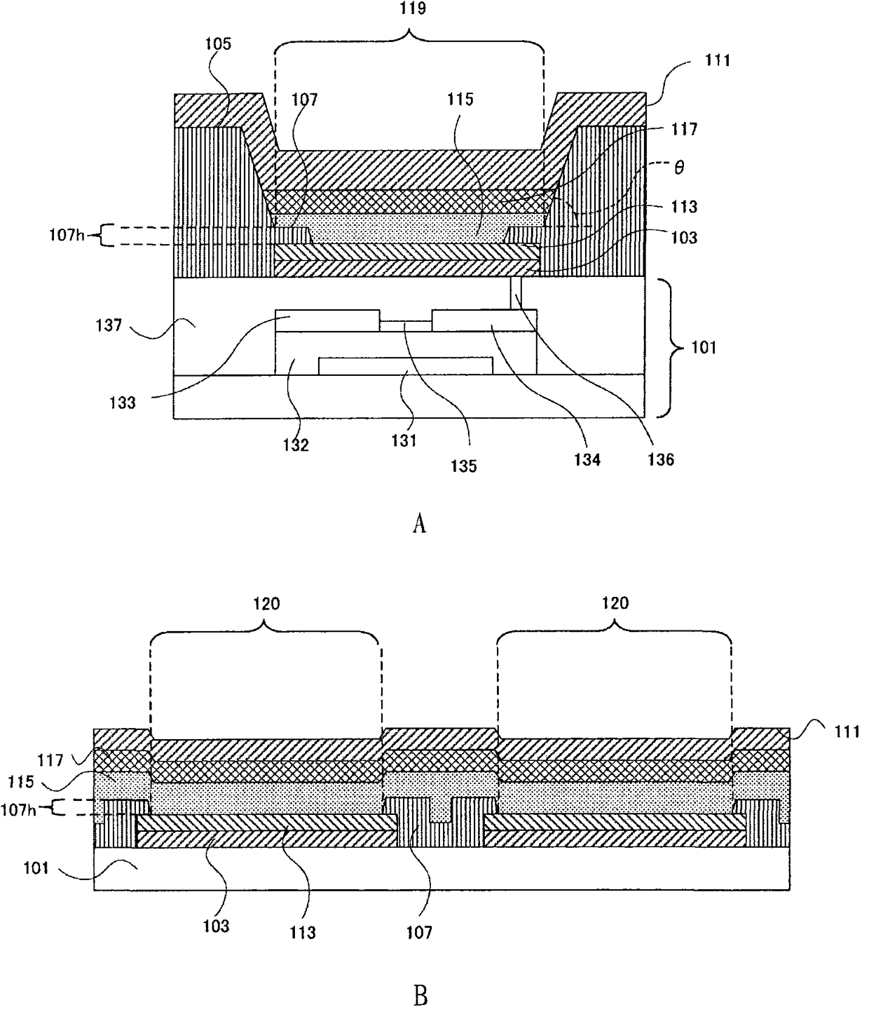
有机电致发光显示屏及其制造方法
授权日
2011-12-28
公开(公告)号
CN101689559B
申请日
2009-06-02
公开(公告)日
2011-12-28
当前申请(专利权)人
株式会社日本有机雷特显示器
发明人
中谷修平 | 吉田英博 | 高木清彦
简单同族
CN101689559A | CN101689559B | EP2242334A1 | EP2242334A4 | EP2242334B1 | JP4495781B2 | JPWO2009147838A1 | KR100984574B1 | KR1020100027150A | US20100181559A1 | US7842947 | WO2009147838A1
简单同族成员数量
12
简单同族被引用专利总数
128
诉讼案件数
0
法律状态/事件
授权 | 权利转移
抱歉,您的浏览器不支持PDF预览,请点击链接下载PDF文件