专利数据库
统计分析
产业报告
专利数据监控
产业人才
行业动态
产业政策法规
维权援助
个人中心
详情
文本
图像
标题
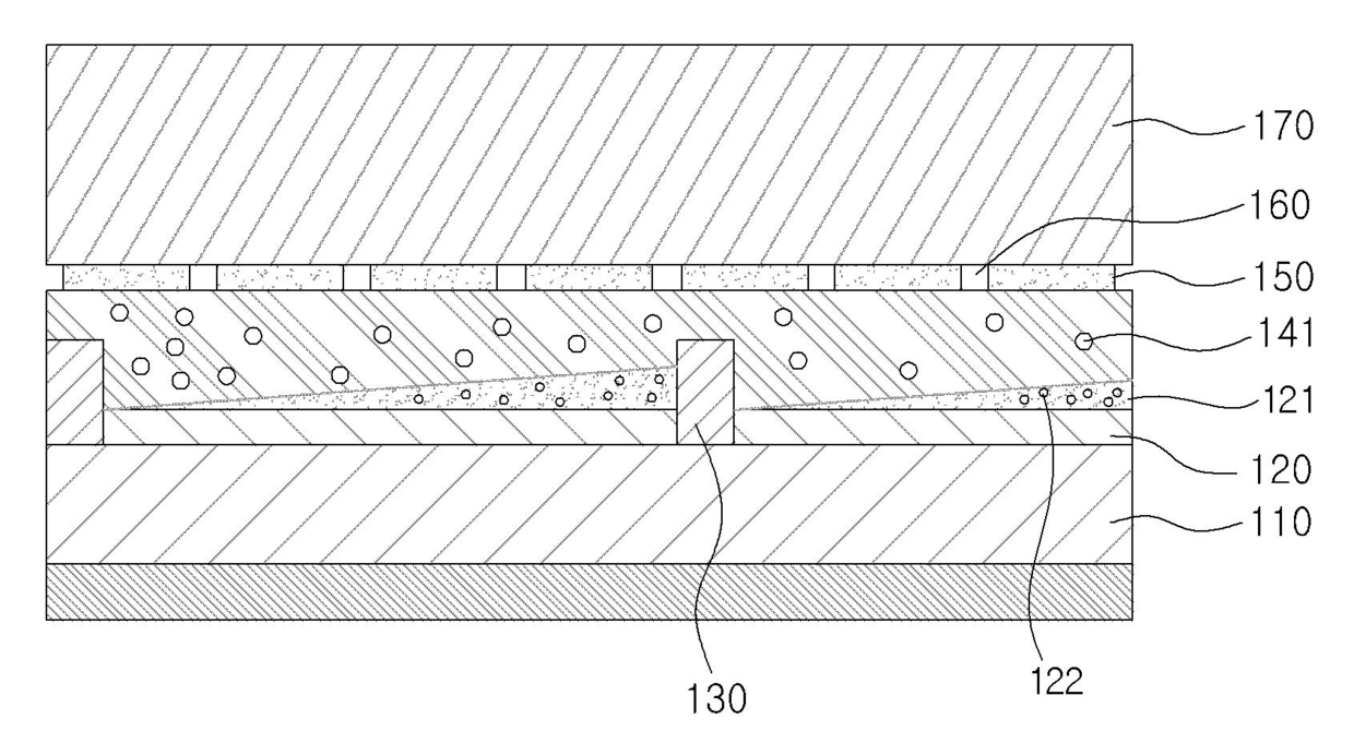
백라이트유닛 및 이를 이용한 액정표시장치
授权日
1900-01-01
公开(公告)号
KR1020120003271A
申请日
2010-07-02
公开(公告)日
2012-01-10
当前申请(专利权)人
엘지이노텍 주식회사
发明人
박형민 | 장재혁 | 이병언 | 이정오
简单同族
KR101168404B1 | KR1020120003271A
简单同族成员数量
2
简单同族被引用专利总数
54
诉讼案件数
0
法律状态/事件
未缴年费
抱歉,您的浏览器不支持PDF预览,请点击链接下载PDF文件