专利数据库
统计分析
产业报告
专利数据监控
产业人才
行业动态
产业政策法规
维权援助
个人中心
详情
文本
图像
标题
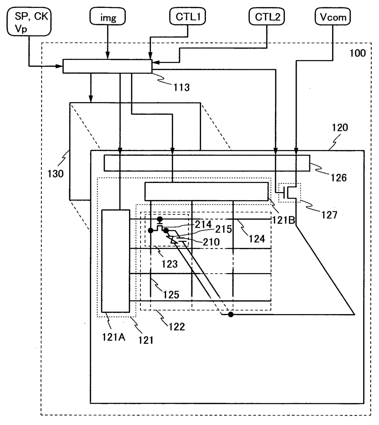
발명의 명칭 표시 장치의 구동 방법 및 액정 표시 장치
授权日
2017-06-16
公开(公告)号
KR101750126B1
申请日
2010-12-20
公开(公告)日
2017-06-22
当前申请(专利权)人
가부시키가이샤 한도오따이 에네루기 켄큐쇼
发明人
하야까와마사히꼬 | 와끼모또겐이찌
简单同族
JP2011170328A | JP2011170328A5 | JP2012230413A | JP2015129940A | JP5178941B2 | JP5952435B2 | KR101750126B1 | KR1020120115521A | TW201137838A | TWI536347B | US20110175895A1 | US8817009 | WO2011089832A1
简单同族成员数量
13
简单同族被引用专利总数
125
诉讼案件数
0
法律状态/事件
授权
抱歉,您的浏览器不支持PDF预览,请点击链接下载PDF文件