专利数据库
统计分析
产业报告
专利数据监控
产业人才
行业动态
产业政策法规
维权援助
个人中心
详情
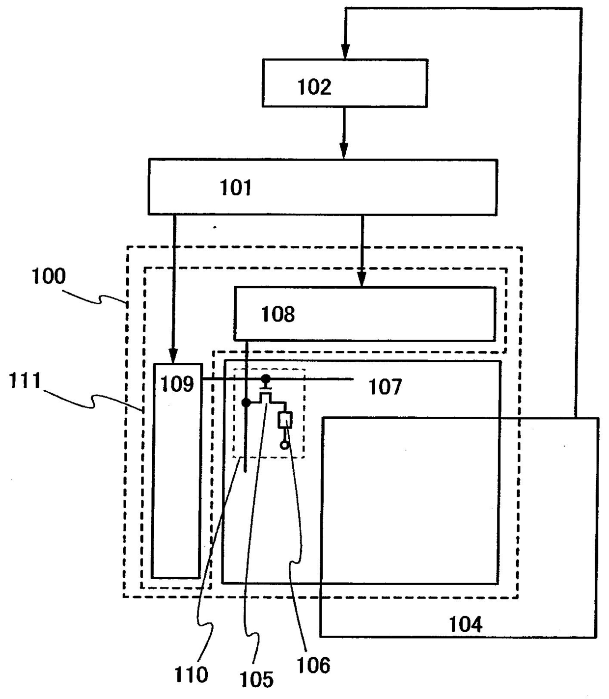
文本
图像
标题
액정 표시 장치 및 그 제작 방법
授权日
2018-07-12
公开(公告)号
KR101879570B1
申请日
2011-03-31
公开(公告)日
2018-07-20
当前申请(专利权)人
가부시키가이샤 한도오따이 에네루기 켄큐쇼
发明人
야마자키,순페이 | 고야마,준
简单同族
CN103109314A | CN103109314B | CN105824397A | CN105824397B | DE112011101475T5 | JP2011248356A | JP2011248356A5 | JP2016164666A | JP2017083889A | JP2017143278A | JP2017228799A | JP2018136562A | JP2020074035A | JP6138389B2 | JP6211727B2 | JP6321872B2 | KR101831147B1 | KR101879570B1 | KR1020130059350A | KR1020180019754A | KR1020180082636A | KR1020190110632A | SG184809A1 | TW201211993A | TW201624461A | TW201735003A | TW201839749A | TWI536351B | TWI597712B | TWI637379B | US10013087 | US20110267297A1 | US20160117033A1 | US20180307358A1 | US9218081 | WO2011135988A1
简单同族成员数量
36
简单同族被引用专利总数
62
诉讼案件数
0
法律状态/事件
授权
抱歉,您的浏览器不支持PDF预览,请点击链接下载PDF文件