专利数据库
统计分析
产业报告
专利数据监控
产业人才
行业动态
产业政策法规
维权援助
个人中心
详情
文本
图像
标题
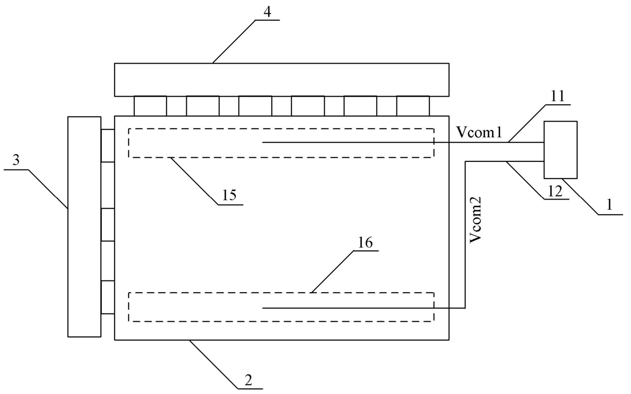
발명의 명칭 공통 전극 구동 회로와 액정 디스플레이
授权日
1900-01-01
公开(公告)号
KR1020120031197A
申请日
2012-02-16
公开(公告)日
2012-03-30
当前申请(专利权)人
베이징 비오이 옵토일렉트로닉스 테크놀로지 컴퍼니 리미티드
发明人
XIAO, XIANGCHUN
简单同族
CN101847376A | CN101847376B | JP2010231205A | JP2010231205A5 | JP5727153B2 | KR101154491B1 | KR101233710B1 | KR1020100107422A | KR1020120031197A | US20100245326A1 | US8878829
简单同族成员数量
11
简单同族被引用专利总数
53
诉讼案件数
0
法律状态/事件
授权 | 权利转移
抱歉,您的浏览器不支持PDF预览,请点击链接下载PDF文件