专利数据库
统计分析
产业报告
专利数据监控
产业人才
行业动态
产业政策法规
维权援助
个人中心
详情
文本
图像
标题
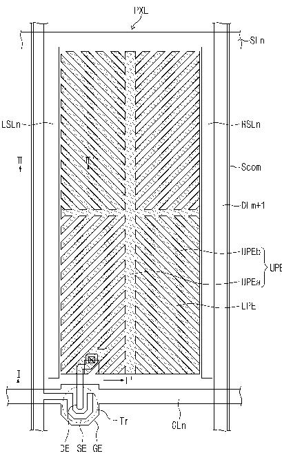
액정 표시 장치
授权日
1900-01-01
公开(公告)号
KR1020130027370A
申请日
2011-09-07
公开(公告)日
2013-03-15
当前申请(专利权)人
삼성디스플레이 주식회사
发明人
정연학 | 이각석 | 신기철 | 이희환 | 홍지표
简单同族
KR101939782B1 | KR1020130027370A | US20130057813A1 | US9086601
简单同族成员数量
4
简单同族被引用专利总数
63
诉讼案件数
0
法律状态/事件
授权
抱歉,您的浏览器不支持PDF预览,请点击链接下载PDF文件