专利数据库
统计分析
产业报告
专利数据监控
产业人才
行业动态
产业政策法规
维权援助
个人中心
详情
文本
图像
标题
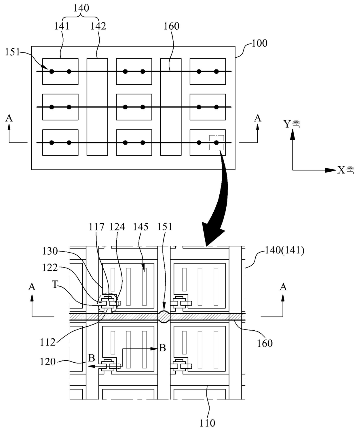
발명의 명칭 액정표시장치
授权日
2017-10-13
公开(公告)号
KR101790977B1
申请日
2010-10-08
公开(公告)日
2017-10-26
当前申请(专利权)人
엘지디스플레이 주식회사
发明人
송인혁
简单同族
CN102445799A | CN102445799B | KR101790977B1 | KR1020120036521A | TW201215975A | TWI467297B | US20120086654A1 | US8982064
简单同族成员数量
8
简单同族被引用专利总数
83
诉讼案件数
0
法律状态/事件
授权
抱歉,您的浏览器不支持PDF预览,请点击链接下载PDF文件