专利数据库
统计分析
产业报告
专利数据监控
产业人才
行业动态
产业政策法规
维权援助
个人中心
详情
文本
图像
标题
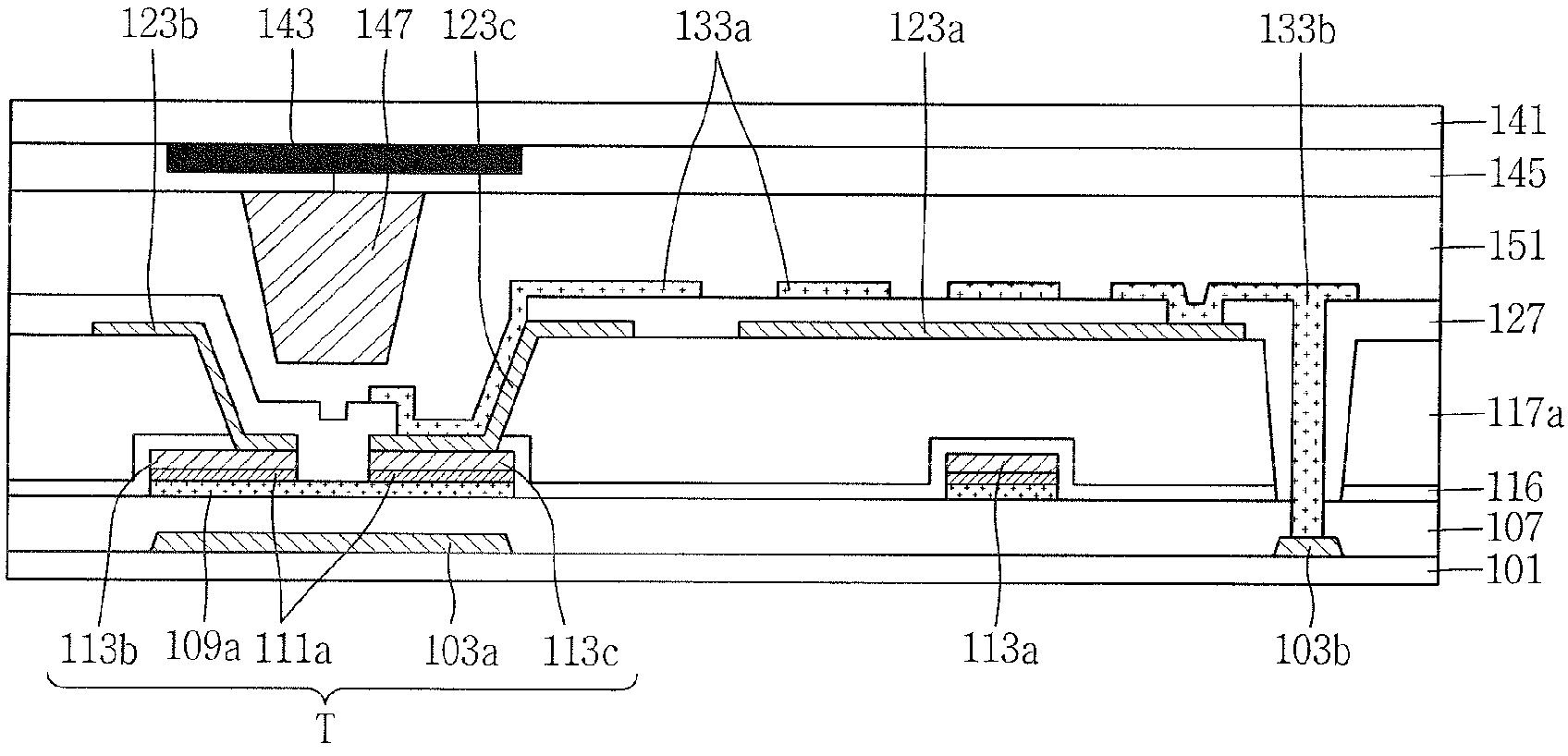
에프에프에스 방식 액정표시장치용 어레이기판 및 그 제조방법
授权日
2018-10-01
公开(公告)号
KR101905757B1
申请日
2011-11-17
公开(公告)日
2018-10-10
当前申请(专利权)人
엘지디스플레이 주식회사
发明人
신동수 | 최승규 | 이철환
简单同族
CN103123429A | CN103123429B | JP2013109347A | JP5589051B2 | KR101905757B1 | KR1020130054780A | TW201321872A | TWI579624B | US20130126876A1 | US20150001541A1 | US8852975 | US9190423
简单同族成员数量
12
简单同族被引用专利总数
53
诉讼案件数
0
法律状态/事件
授权
抱歉,您的浏览器不支持PDF预览,请点击链接下载PDF文件