专利数据库
统计分析
产业报告
专利数据监控
产业人才
行业动态
产业政策法规
维权援助
个人中心
详情
文本
图像
标题
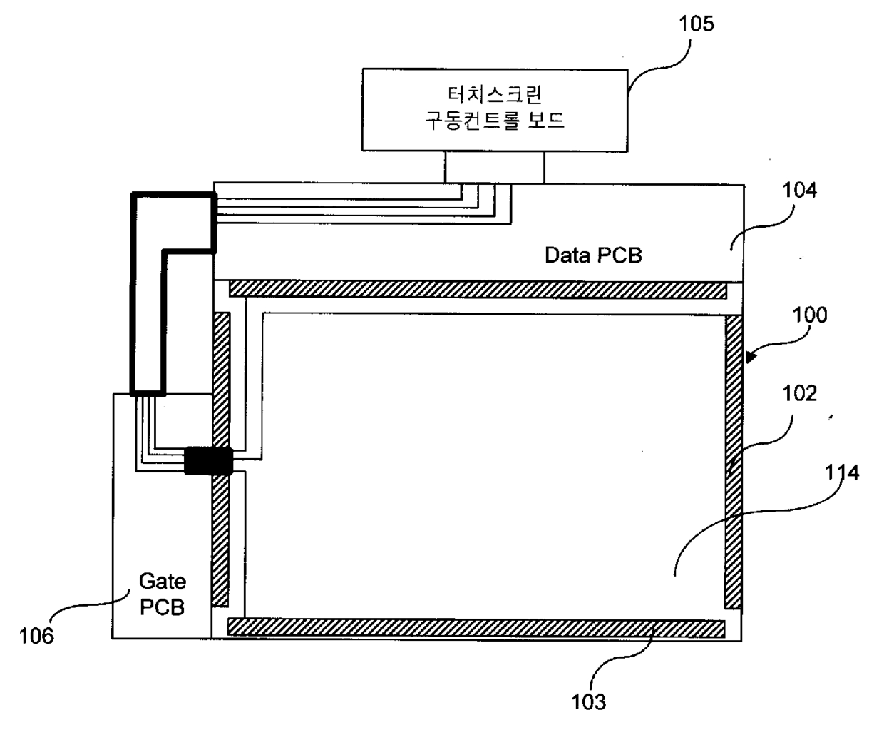
인풋 디바이스가 부가된 평판 디스플레이
授权日
2001-06-05
公开(公告)号
KR200234683Y1
申请日
2001-03-27
公开(公告)日
2001-10-10
当前申请(专利权)人
주식회사 에이터치
发明人
OH,YOUNGJIN
简单同族
KR200234683Y1
简单同族成员数量
1
简单同族被引用专利总数
0
诉讼案件数
0
法律状态/事件
放弃
抱歉,您的浏览器不支持PDF预览,请点击链接下载PDF文件