专利数据库
统计分析
产业报告
专利数据监控
产业人才
行业动态
产业政策法规
维权援助
个人中心
详情
文本
图像
标题
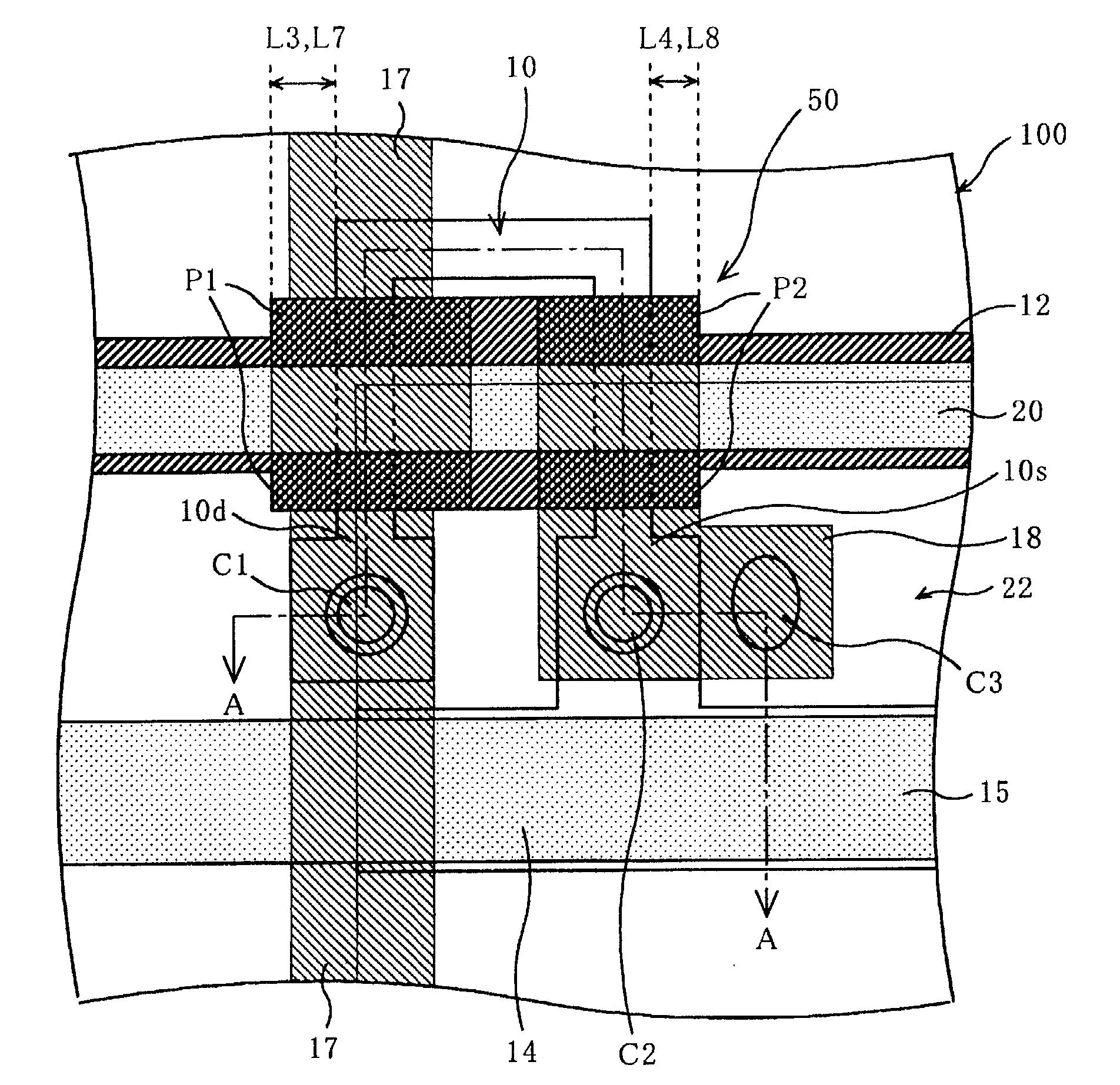
표시 장치
授权日
1900-01-01
公开(公告)号
KR1020070075316A
申请日
2007-01-10
公开(公告)日
2007-07-18
当前申请(专利权)人
엡슨 이미징 디바이스 가부시키가이샤
发明人
세가와야스오 | 오노기도모히데
简单同族
CN100559596C | CN101000914A | CN101452174A | CN101452174B | JP2007188936A | JP2007188936A5 | KR100846543B1 | KR1020070075316A | KR1020080015502A | TW200730983A | TWI351568B | US20070159565A1 | US8174633
简单同族成员数量
13
简单同族被引用专利总数
116
诉讼案件数
0
法律状态/事件
授权 | 权利转移
抱歉,您的浏览器不支持PDF预览,请点击链接下载PDF文件