专利数据库
统计分析
产业报告
专利数据监控
产业人才
行业动态
产业政策法规
维权援助
个人中心
详情
文本
图像
标题
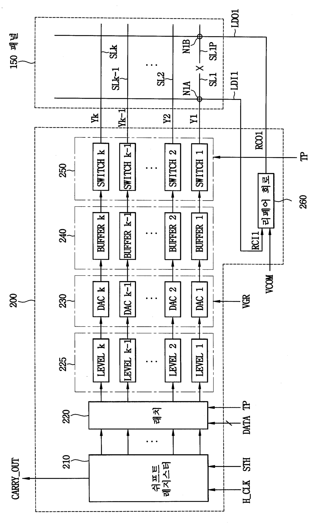
소스 라인 리페어 기능을 갖는 액정표시장치 및 소스 라인리페어 방법
授权日
2006-07-26
公开(公告)号
KR100608106B1
申请日
2003-11-20
公开(公告)日
2006-08-02
当前申请(专利权)人
삼성전자주식회사
发明人
김경면 | 최창휘
简单同族
KR100608106B1 | KR1020050048878A | TW200519825A | TWI378430B | US20050110738A1 | US7436381
简单同族成员数量
6
简单同族被引用专利总数
76
诉讼案件数
0
法律状态/事件
未缴年费
抱歉,您的浏览器不支持PDF预览,请点击链接下载PDF文件