专利数据库
统计分析
产业报告
专利数据监控
产业人才
行业动态
产业政策法规
维权援助
个人中心
详情
文本
图像
标题
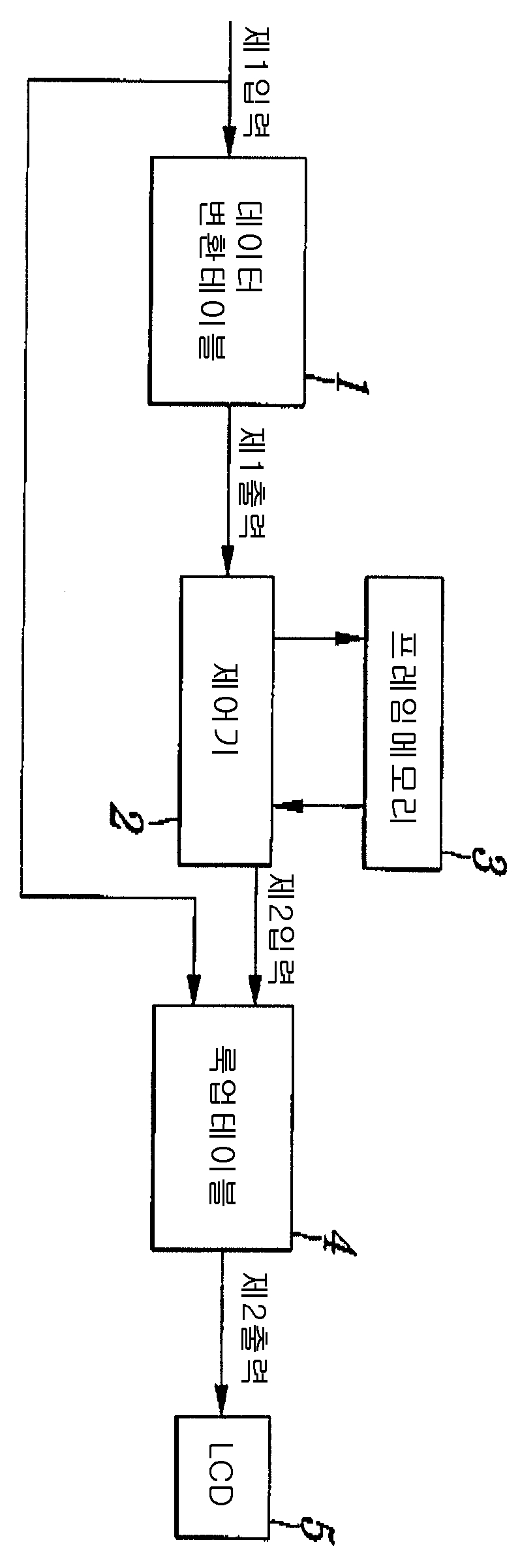
액정표시장치
授权日
1900-01-01
公开(公告)号
KR1020030004049A
申请日
2002-06-25
公开(公告)日
2003-01-14
当前申请(专利权)人
엔엘티 테크놀로지 가부시키가이샤
发明人
모리타도시유키
简单同族
JP2003084736A | KR100515900B1 | KR1020030004049A | TW550533B | US20020196221A1 | US7202882
简单同族成员数量
6
简单同族被引用专利总数
65
诉讼案件数
0
法律状态/事件
授权 | 权利转移
抱歉,您的浏览器不支持PDF预览,请点击链接下载PDF文件