专利数据库
统计分析
产业报告
专利数据监控
产业人才
行业动态
产业政策法规
维权援助
个人中心
详情
文本
图像
标题
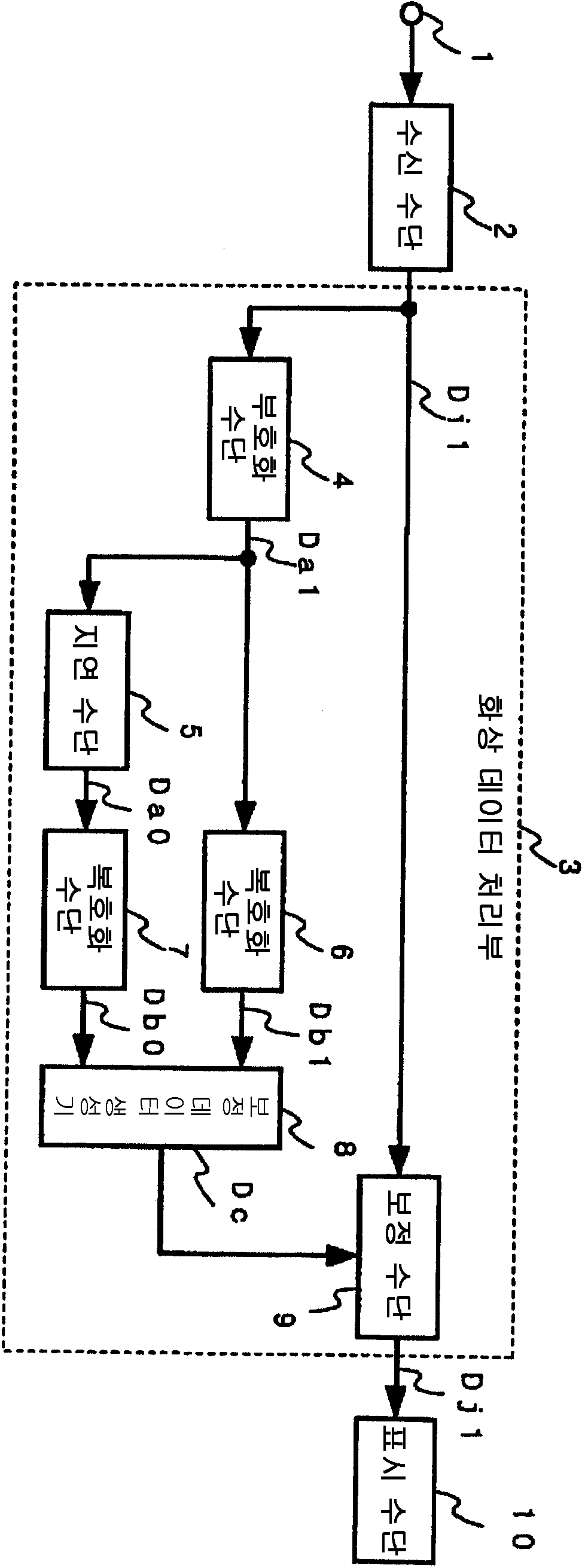
액정 구동 회로
授权日
1900-01-01
公开(公告)号
KR1020030036043A
申请日
2002-10-30
公开(公告)日
2003-05-09
当前申请(专利权)人
미쓰비시덴키 가부시키가이샤
发明人
소메야쥰 | 야마카와마사키
简单同族
JP2003202845A | JP2003202845A5 | JP3617498B2 | KR100541140B1 | KR1020030036043A | TWI235980B | US20030080983A1 | US20040217930A1 | US6756955 | US7327340
简单同族成员数量
10
简单同族被引用专利总数
126
诉讼案件数
0
法律状态/事件
授权
抱歉,您的浏览器不支持PDF预览,请点击链接下载PDF文件