专利数据库
统计分析
产业报告
专利数据监控
产业人才
行业动态
产业政策法规
维权援助
个人中心
详情
文本
图像
标题
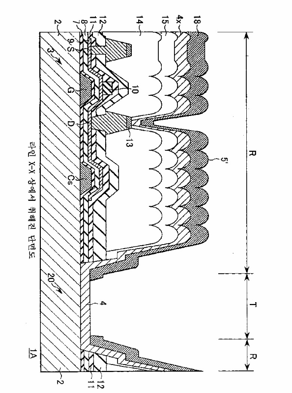
액정 표시 장치
授权日
1900-01-01
公开(公告)号
KR1020020014993A
申请日
2001-06-09
公开(公告)日
2002-02-27
当前申请(专利权)人
소니 주식회사
发明人
노브유키시게노 | 마키츄르타 | 요시토시키다
简单同族
JP2001350158A | JP4815659B2 | KR1020020014993A | US20020033918A1
简单同族成员数量
4
简单同族被引用专利总数
134
诉讼案件数
0
法律状态/事件
撤回
抱歉,您的浏览器不支持PDF预览,请点击链接下载PDF文件