根据相关报道,大约70%的癌症患者在治疗过程中需要用放射治疗,约有40%的癌症可以用放疗根治。放射治疗在肿瘤治疗中的作用和地位日益突出,已成为治疗恶性肿瘤的主要手段之一。尤其一些分期较晚的癌症患者已不具备手术条件,如何为其提供准确、高效的治疗来缓解痛苦、延长寿命至关重要。TrueBeam放射治疗系统是根据人类的需要而设计的,可快速地提供精准的剂量并让患者早日康复。其设计旨在治疗在体内任何部位的肿瘤,其灵活性能够满足您的临床需求。TrueBeam系统是集合了目前国际先进技术进行设计的电子直线加速器、医学图像处理系统、呼吸门控设备和网络系统的统称。用于针对影像导引的放射治疗和放射外科治疗,运用创新、智能和直观的思维方式,可实现从快速成像到精准的剂量投照,进行四维动态跟踪照射,治疗人体内任何适用于放射治疗的肿瘤。TrueBeam放射治疗系统由巨头公司瓦里安研发制造。瓦里安医疗系统公司是全球领先的癌症及其他重大疾病诊断及治疗解决方案的供应商。公司以拯救生命为使命,通过与用户及业界伙伴的紧密合作,每年拯救数十万的生命。瓦里安医疗系统公司致力于提供癌症及其他疾病放射治疗、放射外科、质子治疗和近距离放射治疗设备及相关软件。公司也是全球领先的集医学、科研和工业领域的影像部件及安全检测相关设备的供应商。对于TrueBeam放射治疗系统相关专利,其申请人主要聚集于瓦里安公司。笔者针对TrueBeam所涉及的专利情况,进行了检索,其结果进行如下展示:
通过如下附图和表格,可以清晰得到整个TrueBeam放射治疗系统的技术细节:


笔者通过视频的形式,给各位读者展示TrueBeam系统的技术组成和使用方法。(温馨提示:视频有背景音乐)
笔者从TrueBeam放射治疗系统涉及的相关专利中择机选择了3组专利进行了解析,相关结果如下,TrueBeam放射治疗系统的完整专利清单笔者也汇总完成,如若获取完整专利清单与专利分析可以与笔者取得联系,共同交流学习:
| | | |
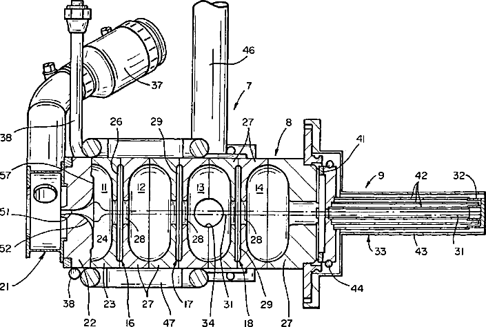
| X-ray source employing a compact electron beam accelerator |
| This invention relates generally to x-ray sources employing standing wave electron beam accelerators, and more particularly x-ray sources employing compact high-energy electron beam accelerators having low-leakage x-ray radiation to minimize shielding requirement. |
| A standing wave electron beam accelerator and x-ray source is described. The accelerator has a plurality of on-axis resonant cells having axial apertures electrically coupled to one another by on-axis coupling cells having axial apertures. The accelerator includes a buncher cavity defined in part by an apertured anode and a half cell. The buncher cavity is configured to receive electrons injected through said anode aperture and r.f. focus them into a beam which is projected along the axis through said apertures. An x-ray target is supported in spaced relationship to said accelerator by a support having a smaller diameter than the accelerator. |
| |
| | | |
| Radiation therapy system and method of using the same |
| The present invention is related to radiation therapy systems and is particularly related to a radiation therapy system having a multileaf collimator and a method of using such a system. |
| A method of using a radiation system having a multileaf collimator (“MLC”) to adjust for unevenness in the radiation emitted by the system is disclosed. By appropriately controlling the MLC in accordance with the invention the system can be operated without a flattening filter. In addition, the invention allows the system user to vary the radiation beam energy in the course of a single treatment, without the need to use or change flattening filters. A map of the uneven radiation beam intensity in the treatment area is obtained, and the map information is combined with a treatment plan to control movement of the leaves of the MLC such that each area receives the correct radiation dose. |
| |
| | | |
| Radiation treatment systems |
| This application claims priority to U.S. Provisional Patent Application No. 61/323,859, entitled “Real Time Control Systems for Radiation Treatment Systems,” filed Apr. 13, 2010, the contents of which are hereby incorporated in their entirety by reference for all purposes. |
| Disclosed are radiation treatment systems with enhanced control architectures that enable more complex treatment plans to be implemented, and radiation treatment systems with enhanced resistance to the effect of neutrons. An exemplary control architectures comprises: a digital packet network; a supervisor electrically coupled to the digital packet network and having a treatment plan; and a plurality of nodes, each node coupled to digital packet network and controlling one or more treatment-related components of the radiation treatment system; and wherein the supervisor periodically communicates control orders to the nodes over the digital packet network. |
| |
总结开来,TrueBeam放射治疗系统具有如下性能优势:① 灵活的治疗选项。提供多种治疗技术,如HyperArc和RapidArc,以应对各种癌症病例。
② 先进的成像。与呼吸同步的MV/kV放射影像、4D CBCT、迭代CBCT、触发成像等等。
④ 简化的治疗。特有的Maestro同步控制系统可实现系统无缝运行。
⑤ 安全可靠。内置患者安全功能,使临床医生能够自信地驾驭复杂的癌症治疗。
瓦里安推出的集成“光学巡航制导系统”的高端直线加速器TrueBeam,它可以精准打击身体各部位肿瘤,享有“速光刀”之称,是“全能”杀癌利器,也是国内各大厂家作为标杆和对照的竞品,随着国内重视程度不断提高的情况下,中国公司蓄势待发,肿瘤放射治疗系统在一片被普遍看好的市场中开始暗流涌动,也会逐步摆脱国外竞品带来的压力和技术障碍。不过,瓦里安等国外巨头公司和国内新兴企业在知识产权方面布局更加紧密,肿瘤放射治疗系统赛道上的各个国内厂商之间的竞争也会逐渐激烈,届时相关知识产权问题也必将会成为各大厂商的研究重点课题,后续相关产品的的研发和专利事务值得持续关注。医疗IP君,知识产权学者。联系方式:13402588726