专利数据库
统计分析
产业报告
专利数据监控
产业人才
行业动态
产业政策法规
维权援助
个人中心
详情
文本
图像
标题
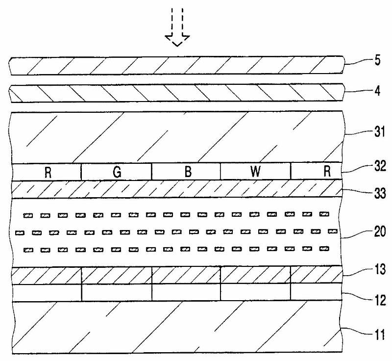
휘도를 증가시키기 위한 서브 픽셀을 갖는 반사형 칼라액정 디스플레이 장치와, 서브 픽셀용 칼라 필터
授权日
1900-01-01
公开(公告)号
KR1020010053493A
申请日
2000-05-12
公开(公告)日
2001-06-25
当前申请(专利权)人
티피오 홍콩 홀딩 리미티드
发明人
YOSHIDA,KEI
简单同族
CN1199075C | CN1320224A | EP1097401A2 | JP2000330102A | JP2000330102A5 | JP3717333B2 | KR1020010053493A | TWI244563B | US20050168668A1 | US6950156 | US7375777 | WO2000070392A2 | WO2000070392A3
简单同族成员数量
13
简单同族被引用专利总数
77
诉讼案件数
0
法律状态/事件
驳回 | 复审
抱歉,您的浏览器不支持PDF预览,请点击链接下载PDF文件