专利数据库
统计分析
产业报告
专利数据监控
产业人才
行业动态
产业政策法规
维权援助
个人中心
详情
文本
图像
标题
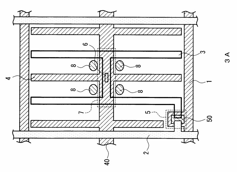
액정 표시 장치
授权日
1900-01-01
公开(公告)号
KR1020020008794A
申请日
2001-07-23
公开(公告)日
2002-01-31
当前申请(专利权)人
파나소닉 주식회사
发明人
후카미데츠오 | 구마가와가츠히코 | 기무라마사노리
简单同族
CN1199080C | CN1335532A | JP2002040480A | KR100409259B1 | KR1020020008794A | SG99925A1 | US20020012077A1 | US6816208
简单同族成员数量
8
简单同族被引用专利总数
55
诉讼案件数
0
法律状态/事件
授权 | 权利转移
抱歉,您的浏览器不支持PDF预览,请点击链接下载PDF文件