专利数据库
统计分析
产业报告
专利数据监控
产业人才
行业动态
产业政策法规
维权援助
个人中心
详情
文本
图像
标题
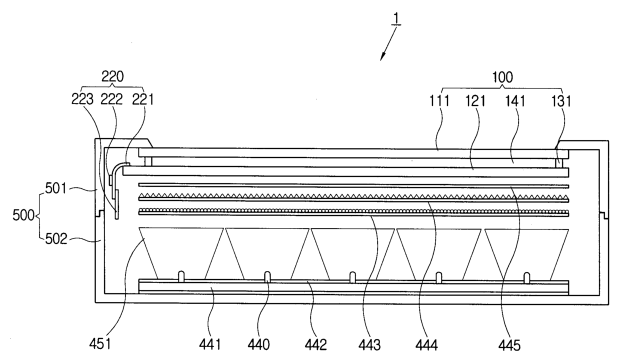
액정표시장치
授权日
2006-11-25
公开(公告)号
KR100653070B1
申请日
2005-09-05
公开(公告)日
2006-12-01
当前申请(专利权)人
삼성전자주식회사
发明人
김수군 | 조태희 | 성기범 | 이계훈 | 정일용 | 이준영 | 김중현
简单同族
CN100526945C | CN1928638A | KR100653070B1 | US20070052662A1 | US8164564
简单同族成员数量
5
简单同族被引用专利总数
57
诉讼案件数
0
法律状态/事件
未缴年费
抱歉,您的浏览器不支持PDF预览,请点击链接下载PDF文件