专利数据库
统计分析
产业报告
专利数据监控
产业人才
行业动态
产业政策法规
维权援助
个人中心
详情
文本
图像
标题
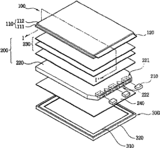
背光源组合体及具有该背光源组合体的液晶显示器
授权日
2010-04-07
公开(公告)号
CN1577005B
申请日
2004-06-10
公开(公告)日
2010-04-07
当前申请(专利权)人
三星显示有限公司
发明人
韩丙雄 | 金奎锡 | 周荣备
简单同族
CN1577005A | CN1577005B | JP2005026222A | KR100989338B1 | KR1020050005353A | TW200508737A | US20050001952A1 | US7139048
简单同族成员数量
8
简单同族被引用专利总数
159
诉讼案件数
0
法律状态/事件
未缴年费 | 权利转移
抱歉,您的浏览器不支持PDF预览,请点击链接下载PDF文件