专利数据库
统计分析
产业报告
专利数据监控
产业人才
行业动态
产业政策法规
维权援助
个人中心
详情
文本
图像
标题
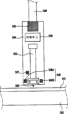
液晶显示面板的分配器及控制基板与喷嘴之间间隙的方法
授权日
1900-01-01
公开(公告)号
CN1508594A
申请日
2003-12-15
公开(公告)日
2004-06-30
当前申请(专利权)人
乐金显示有限公司
发明人
丁圣守 | 郭龙根
简单同族
CN100381882C | CN1508594A | JP2004199076A | JP4224701B2 | KR100700176B1 | KR1020040054404A | TW200410761A | TWI239272B | US20040131758A1 | US20090238950A1 | US7547362 | US8067057
简单同族成员数量
12
简单同族被引用专利总数
82
诉讼案件数
0
法律状态/事件
授权
抱歉,您的浏览器不支持PDF预览,请点击链接下载PDF文件