专利数据库
统计分析
产业报告
专利数据监控
产业人才
行业动态
产业政策法规
维权援助
个人中心
详情
文本
图像
标题
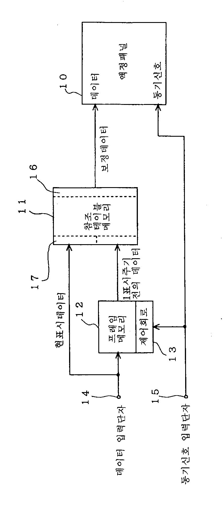
액정표시장치
授权日
2006-01-06
公开(公告)号
KR100543233B1
申请日
2001-08-06
公开(公告)日
2006-01-20
当前申请(专利权)人
가부시키가이샤 아드반스트 디스프레이
发明人
MIYAKE,SHIRO
简单同族
JP2002062850A | JP3722677B2 | KR100543233B1 | KR1020020014692A | US20020047821A1 | US6747621
简单同族成员数量
6
简单同族被引用专利总数
87
诉讼案件数
0
法律状态/事件
未缴年费 | 权利转移
抱歉,您的浏览器不支持PDF预览,请点击链接下载PDF文件