专利数据库
统计分析
产业报告
专利数据监控
产业人才
行业动态
产业政策法规
维权援助
个人中心
详情
文本
图像
标题
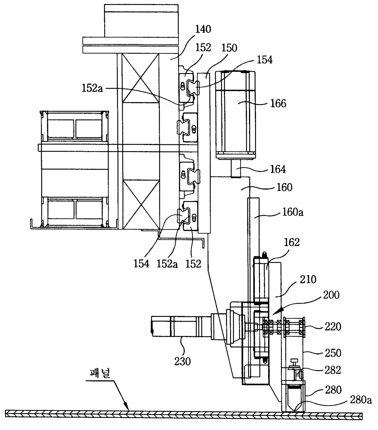
대형 TFT-LCD 패널 세정장치
授权日
2005-06-01
公开(公告)号
KR200386479Y1
申请日
2005-03-15
公开(公告)日
2005-06-17
当前申请(专利权)人
(주)와이티에스
发明人
남성국 | 송봉현 | 최정용
简单同族
KR200386479Y1
简单同族成员数量
1
简单同族被引用专利总数
0
诉讼案件数
0
法律状态/事件
放弃
抱歉,您的浏览器不支持PDF预览,请点击链接下载PDF文件