专利数据库
统计分析
产业报告
专利数据监控
产业人才
行业动态
产业政策法规
维权援助
个人中心
详情
文本
图像
标题
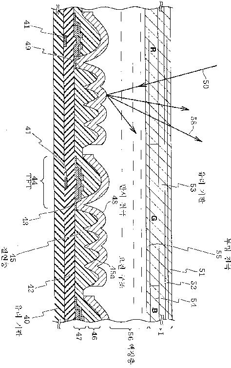
반사형 액정 표시 장치 및 그 제조 방법
授权日
2007-11-23
公开(公告)号
KR100780980B1
申请日
2004-05-29
公开(公告)日
2007-11-29
当前申请(专利权)人
닛본 덴끼 가부시끼가이샤 | 엔엘티 테크놀로지 가부시키가이샤
发明人
가노우히로시 | 야마구찌유이찌 | 깃까와히로노리
简单同族
JP2001194662A | KR100780980B1 | KR1020010086334A | KR1020040062478A | TWI238280B | US20040070709A1 | US20050052597A1 | US20060250549A1 | US6784957 | US7705945
简单同族成员数量
10
简单同族被引用专利总数
145
诉讼案件数
0
法律状态/事件
授权 | 复审 | 权利转移 | 异议
抱歉,您的浏览器不支持PDF预览,请点击链接下载PDF文件