专利数据库
统计分析
产业报告
专利数据监控
产业人才
行业动态
产业政策法规
维权援助
个人中心
详情
文本
图像
标题
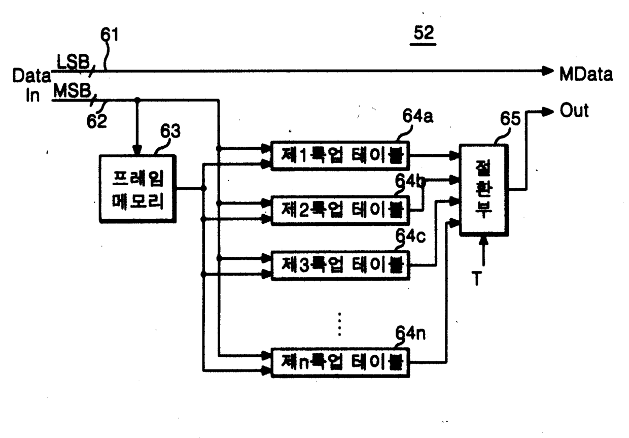
액정표시장치의 구동방법 및 장치
授权日
2008-03-17
公开(公告)号
KR100815899B1
申请日
2001-12-12
公开(公告)日
2008-03-21
当前申请(专利权)人
엘지디스플레이 주식회사
发明人
HAM,YOUNGSUNG
简单同族
KR100815899B1 | KR1020030048529A | US20030107546A1 | US20060250346A1 | US7106287 | US7755592
简单同族成员数量
6
简单同族被引用专利总数
116
诉讼案件数
0
法律状态/事件
授权
抱歉,您的浏览器不支持PDF预览,请点击链接下载PDF文件