专利数据库
统计分析
产业报告
专利数据监控
产业人才
行业动态
产业政策法规
维权援助
个人中心
详情
文本
图像
标题
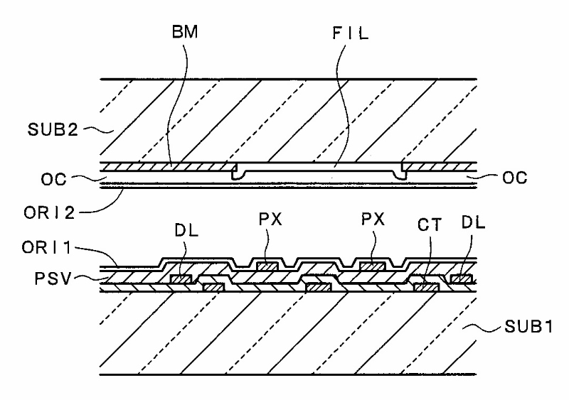
액정 표시 장치
授权日
2005-03-28
公开(公告)号
KR100481345B1
申请日
2001-09-08
公开(公告)日
2005-04-07
当前申请(专利权)人
가부시키가이샤 히타치세이사쿠쇼
发明人
야나가와,가즈히꼬 | 이와까베,야스시 | 나까요시,요시아끼 | 고바야시,세쯔오 | 곤도,가쯔미 | 구라하시,나가또시
简单同族
JP2002169179A | JP2002169179A5 | JP4667587B2 | KR100481345B1 | KR100767907B1 | KR100813721B1 | KR100848416B1 | KR1020020043156A | KR1020040108344A | KR1020060128813A | KR1020070038087A | TW200422731A | TW200815887A | TWI297097B | TWI304144B | TWI315020B | US20020067322A1 | US20070075947A1 | US7164402 | US7551169
简单同族成员数量
20
简单同族被引用专利总数
63
诉讼案件数
0
法律状态/事件
未缴年费 | 权利转移
抱歉,您的浏览器不支持PDF预览,请点击链接下载PDF文件