专利数据库
统计分析
产业报告
专利数据监控
产业人才
行业动态
产业政策法规
维权援助
个人中心
详情
文本
图像
标题
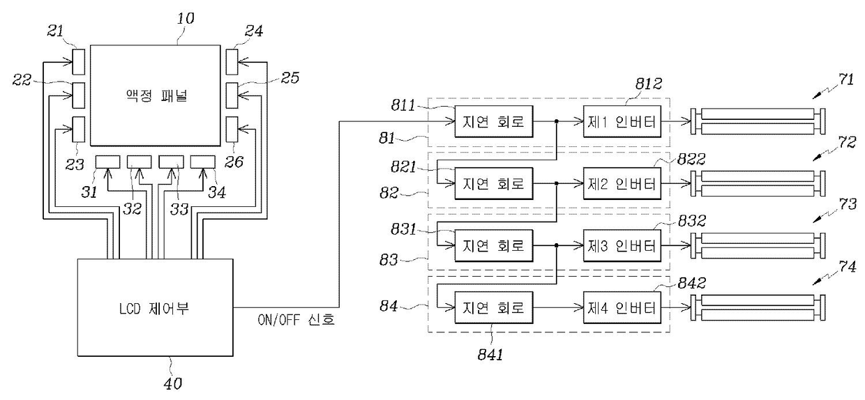
인버터 구동 장치 및 이를 이용한 액정 표시 장치
授权日
2009-02-16
公开(公告)号
KR100885021B1
申请日
2002-09-12
公开(公告)日
2009-02-20
当前申请(专利权)人
삼성전자주식회사
发明人
MOON,SEUNGHWAN
简单同族
CN100359386C | CN1501141A | EP1401246A2 | EP1401246A3 | JP2004103590A | JP4454271B2 | KR100885021B1 | KR1020040023864A | TW200411620A | TWI288911B | US20040051484A1 | US20050285549A1 | US6943506 | US7321207
简单同族成员数量
14
简单同族被引用专利总数
69
诉讼案件数
0
法律状态/事件
放弃
抱歉,您的浏览器不支持PDF预览,请点击链接下载PDF文件