专利数据库
统计分析
产业报告
专利数据监控
产业人才
行业动态
产业政策法规
维权援助
个人中心
详情
文本
图像
标题
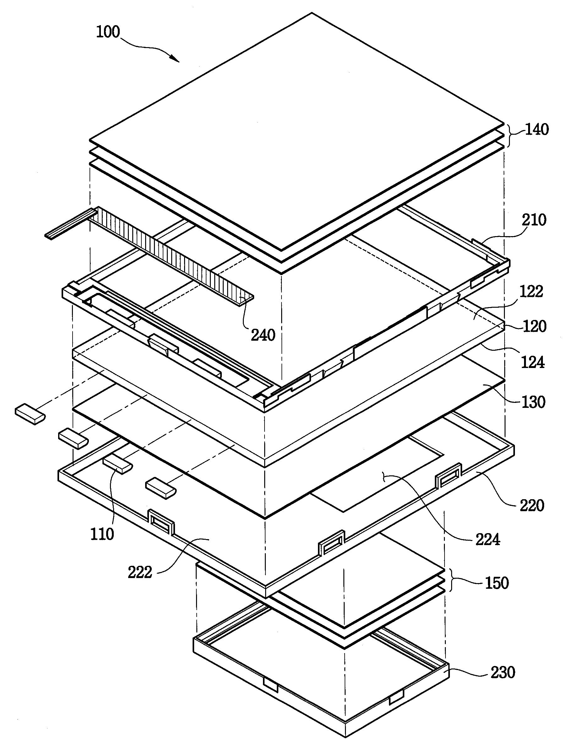
양방향 백라이트 어셈블리 및 이를 이용한 양방향액정표시장치
授权日
1900-01-01
公开(公告)号
KR1020050001726A
申请日
2003-06-26
公开(公告)日
2005-01-07
当前申请(专利权)人
삼성전자주식회사
发明人
한병웅 | 이상희 | 김재광 | 주영비 | 김규석
简单同族
KR100953424B1 | KR1020050001726A | US20040264211A1 | US20060114692A1 | US20080049169A1 | US20090185103A1 | US7001059 | US7290918 | US7527417 | US7922381
简单同族成员数量
10
简单同族被引用专利总数
121
诉讼案件数
0
法律状态/事件
未缴年费 | 权利转移
抱歉,您的浏览器不支持PDF预览,请点击链接下载PDF文件