专利数据库
统计分析
产业报告
专利数据监控
产业人才
行业动态
产业政策法规
维权援助
个人中心
详情
文本
图像
标题
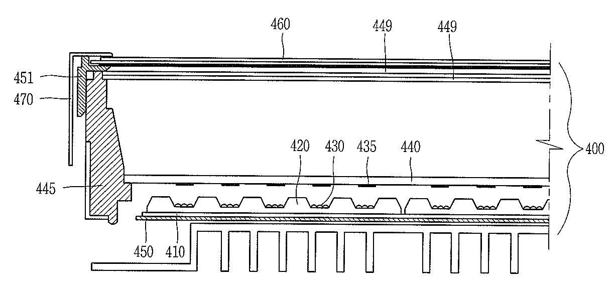
백라이트 유닛 및 그를 구비한 액정표시장치
授权日
1900-01-01
公开(公告)号
KR1020070068175A
申请日
2005-12-26
公开(公告)日
2007-06-29
当前申请(专利权)人
엘지디스플레이 주식회사
发明人
BANG,JU YOUNG
简单同族
CN1991518A | CN1991518B | FR2895527A1 | FR2895527B1 | GB0612729D0 | GB2433823A | GB2433823B | JP2007178988A | JP4732971B2 | KR101212210B1 | KR1020070068175A | US20070147075A1 | US7859609
简单同族成员数量
13
简单同族被引用专利总数
130
诉讼案件数
0
法律状态/事件
授权
抱歉,您的浏览器不支持PDF预览,请点击链接下载PDF文件