专利数据库
统计分析
产业报告
专利数据监控
产业人才
行业动态
产业政策法规
维权援助
个人中心
详情
文本
图像
标题
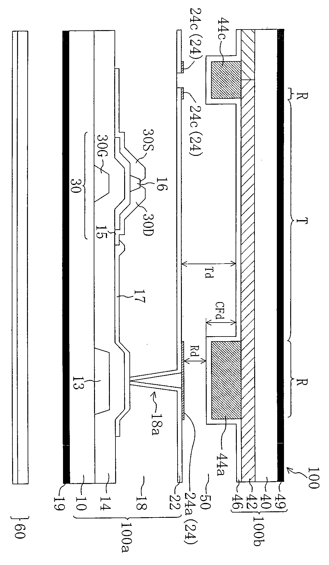
액정 표시 장치
授权日
2008-01-23
公开(公告)号
KR100799422B1
申请日
2005-07-28
公开(公告)日
2008-01-30
当前申请(专利权)人
샤프 가부시키가이샤
发明人
후지모리고이찌 | 나루따끼요조 | 아께비야스노부 | 고니시이꾸지
简单同族
CN100442116C | CN1198168C | CN1409158A | CN1677184A | JP2004086108A | JP4050119B2 | KR100761603B1 | KR100799422B1 | KR1020030028721A | KR1020050099467A | TW562974B | US20030063244A1 | US20040233357A1 | US20060139528A1 | US20070177083A1 | US6850298 | US7030948 | US7212267
简单同族成员数量
18
简单同族被引用专利总数
191
诉讼案件数
0
法律状态/事件
未缴年费 | 复审 | 异议
抱歉,您的浏览器不支持PDF预览,请点击链接下载PDF文件