专利数据库
统计分析
产业报告
专利数据监控
产业人才
行业动态
产业政策法规
维权援助
个人中心
详情
文本
图像
标题
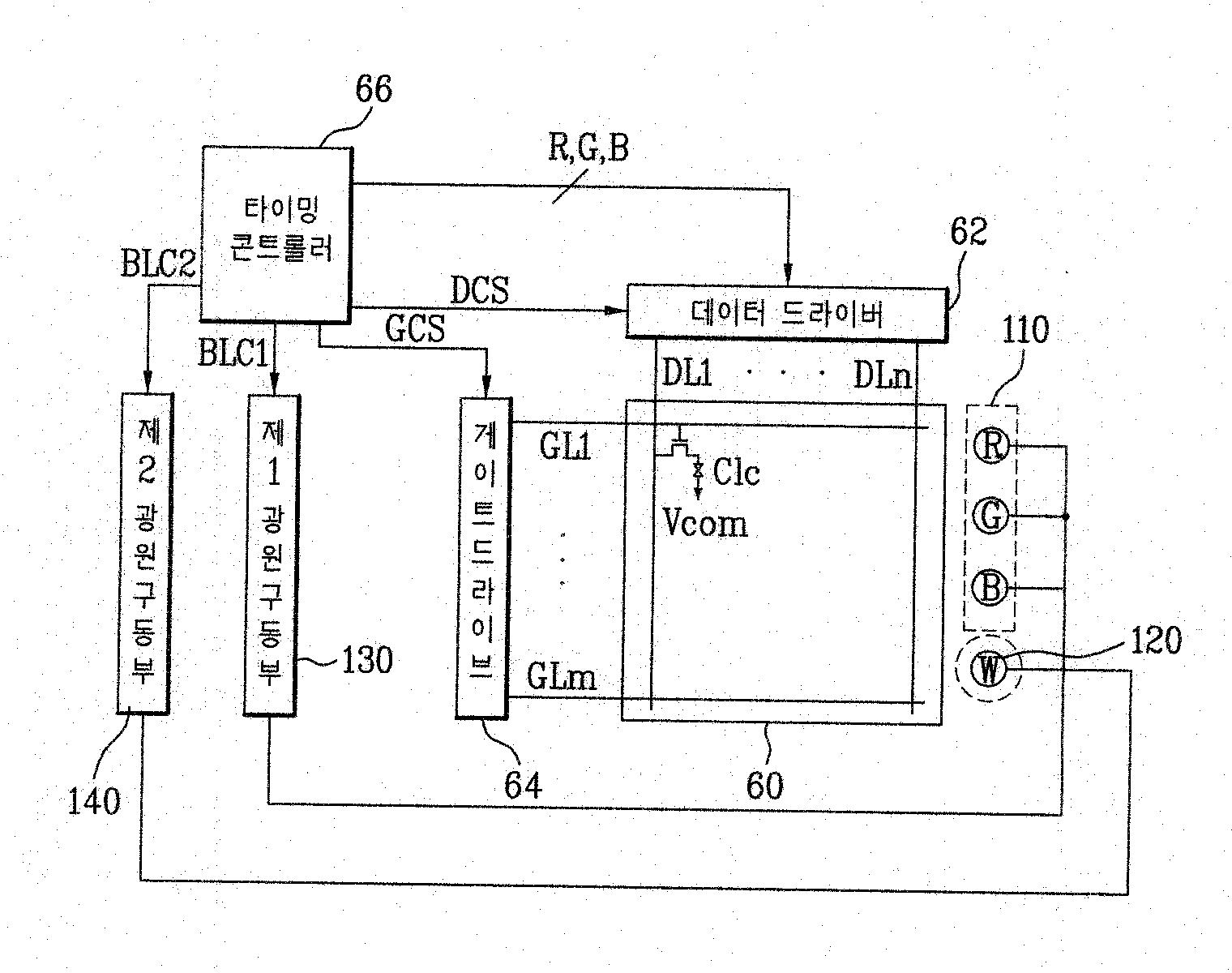
액정표시장치 및 그의 구동방법
授权日
1900-01-01
公开(公告)号
KR1020060000601A
申请日
2004-06-29
公开(公告)日
2006-01-06
当前申请(专利权)人
엘지디스플레이 주식회사
发明人
PARK,HEEJEONG
简单同族
CN100378531C | CN1716039A | KR101016288B1 | KR1020060000601A | US20060007112A1 | US8721096
简单同族成员数量
6
简单同族被引用专利总数
85
诉讼案件数
0
法律状态/事件
未缴年费
抱歉,您的浏览器不支持PDF预览,请点击链接下载PDF文件