专利数据库
统计分析
产业报告
专利数据监控
产业人才
行业动态
产业政策法规
维权援助
个人中心
详情
文本
图像
标题
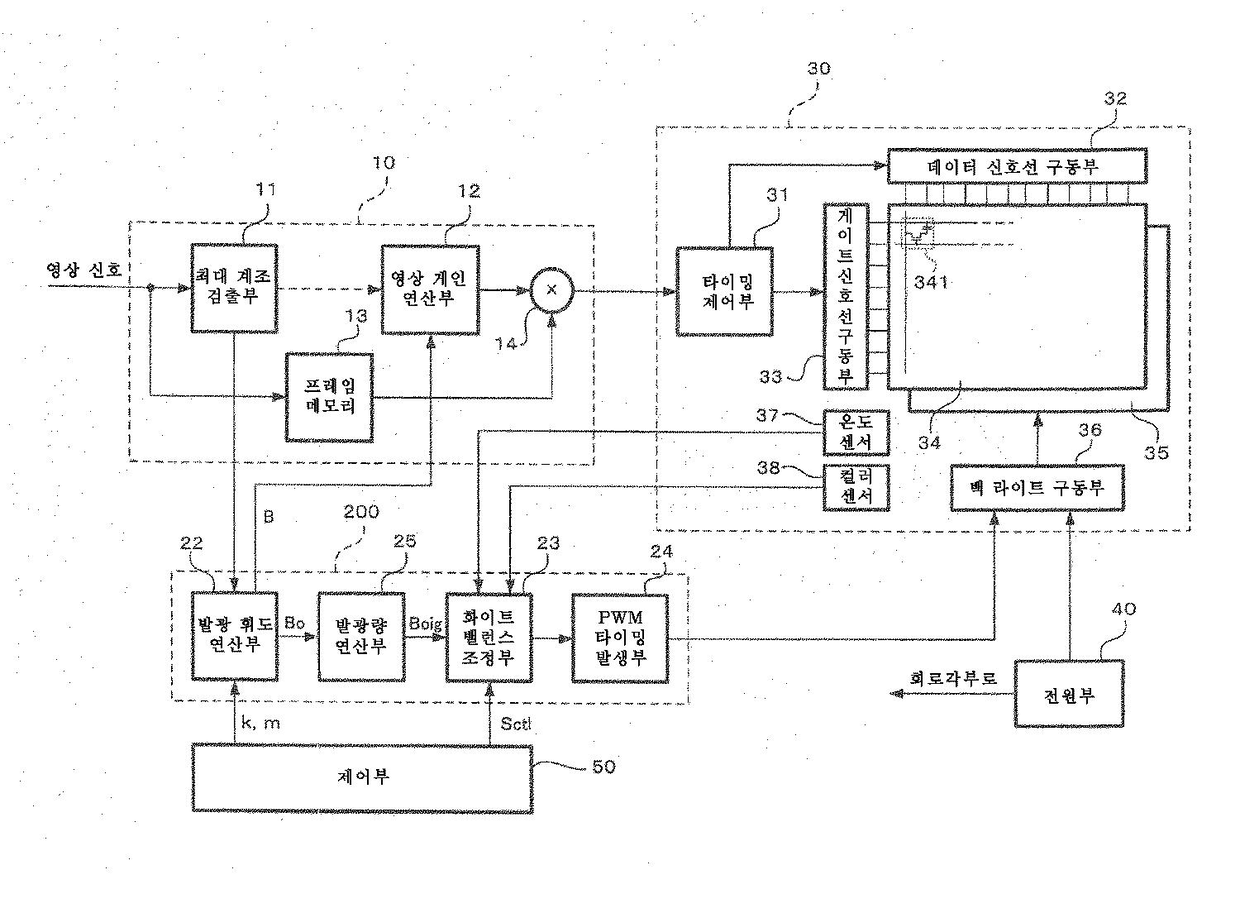
액정 표시 장치 및 이에 이용되는 영상 표시 방법
授权日
2009-02-17
公开(公告)号
KR100885285B1
申请日
2007-11-14
公开(公告)日
2009-02-23
当前申请(专利权)人
닛뽕빅터 가부시키가이샤
发明人
OHSHIMA, YOSHINORI
简单同族
EP1990796A2 | EP1990796A3 | KR100885285B1 | KR1020080099116A | US20080278432A1 | US8139020
简单同族成员数量
6
简单同族被引用专利总数
87
诉讼案件数
0
法律状态/事件
授权
抱歉,您的浏览器不支持PDF预览,请点击链接下载PDF文件