专利数据库
统计分析
产业报告
专利数据监控
产业人才
行业动态
产业政策法规
维权援助
个人中心
详情
文本
图像
标题
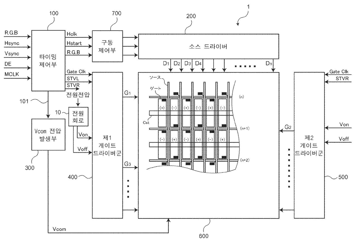
액정표시장치
授权日
1900-01-01
公开(公告)号
KR1020080084081A
申请日
2007-03-14
公开(公告)日
2008-09-19
当前申请(专利权)人
삼성디스플레이 주식회사
发明人
센다,미치루 | 요코야마,로이치
简单同族
CN101266767A | CN101266767B | EP1970888A2 | EP1970888A3 | JP2008225424A | JP5312750B2 | KR101388588B1 | KR1020080084081A | US20080224980A1 | US8823622
简单同族成员数量
10
简单同族被引用专利总数
65
诉讼案件数
0
法律状态/事件
授权
抱歉,您的浏览器不支持PDF预览,请点击链接下载PDF文件