专利数据库
统计分析
产业报告
专利数据监控
产业人才
行业动态
产业政策法规
维权援助
个人中心
详情
文本
图像
标题
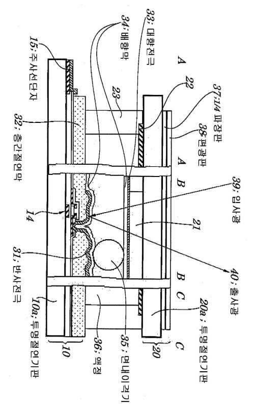
액정표시장치 및 그 제조방법
授权日
2005-06-17
公开(公告)号
KR100497759B1
申请日
2002-04-26
公开(公告)日
2005-06-28
当前申请(专利权)人
엔엘티 테크놀로지 가부시키가이샤
发明人
마에다아키토시 | 야스다교우네이 | 다나카히로아키 | 기도슈사쿠
简单同族
JP2002328396A | KR100497759B1 | KR1020020083947A | TWI297413B | US20020159010A1
简单同族成员数量
5
简单同族被引用专利总数
72
诉讼案件数
0
法律状态/事件
未缴年费
抱歉,您的浏览器不支持PDF预览,请点击链接下载PDF文件