专利数据库
统计分析
产业报告
专利数据监控
产业人才
行业动态
产业政策法规
维权援助
个人中心
详情
文本
图像
标题
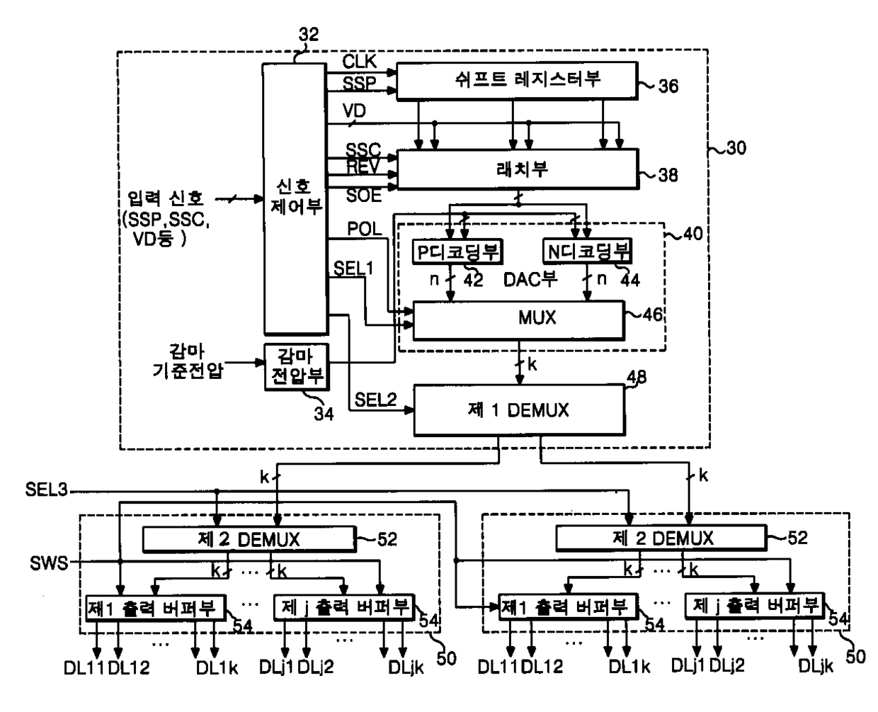
액정표시장치의 데이터 구동 장치 및 방법
授权日
1900-01-01
公开(公告)号
KR1020030031282A
申请日
2001-10-13
公开(公告)日
2003-04-21
当前申请(专利权)人
엘지디스플레이 주식회사
发明人
이석우 | 최수경
简单同族
CN1288617C | CN1412737A | DE10224737A1 | DE10224737B4 | FR2830968A1 | FR2830968B1 | GB0211912D0 | GB2380849A | GB2380849B | JP2003122333A | JP4146669B2 | KR100815898B1 | KR1020030031282A | US20030071779A1 | US7196685
简单同族成员数量
15
简单同族被引用专利总数
64
诉讼案件数
0
法律状态/事件
授权
抱歉,您的浏览器不支持PDF预览,请点击链接下载PDF文件