专利数据库
统计分析
产业报告
专利数据监控
产业人才
行业动态
产业政策法规
维权援助
个人中心
详情
文本
图像
标题
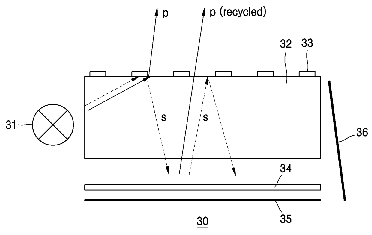
와이어 그리드 편광자를 이용한 백라이트 유닛 및 이를채용한 액정표시장치
授权日
1900-01-01
公开(公告)号
KR1020070027980A
申请日
2005-08-30
公开(公告)日
2007-03-12
当前申请(专利权)人
삼성전자주식회사
发明人
네스테란코드미트리 | 최환영
简单同族
KR100718136B1 | KR1020070027980A | US20070047214A1 | US7614757
简单同族成员数量
4
简单同族被引用专利总数
63
诉讼案件数
0
法律状态/事件
授权 | 权利转移
抱歉,您的浏览器不支持PDF预览,请点击链接下载PDF文件