专利数据库
统计分析
产业报告
专利数据监控
产业人才
行业动态
产业政策法规
维权援助
个人中心
详情
文本
图像
标题
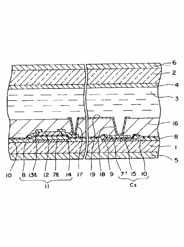
액티브 매트릭스형 액정표시장치
授权日
2003-03-05
公开(公告)号
KR100376338B1
申请日
2000-06-22
公开(公告)日
2003-03-15
当前申请(专利权)人
알프스 덴키 가부시키가이샤
发明人
KAWAHATA,KEN
简单同族
JP2001013520A | JP3844913B2 | KR100376338B1 | KR1020010021016A | TW526352B | US6356318
简单同族成员数量
6
简单同族被引用专利总数
157
诉讼案件数
0
法律状态/事件
放弃
抱歉,您的浏览器不支持PDF预览,请点击链接下载PDF文件