专利数据库
统计分析
产业报告
专利数据监控
产业人才
行业动态
产业政策法规
维权援助
个人中心
详情
文本
图像
标题
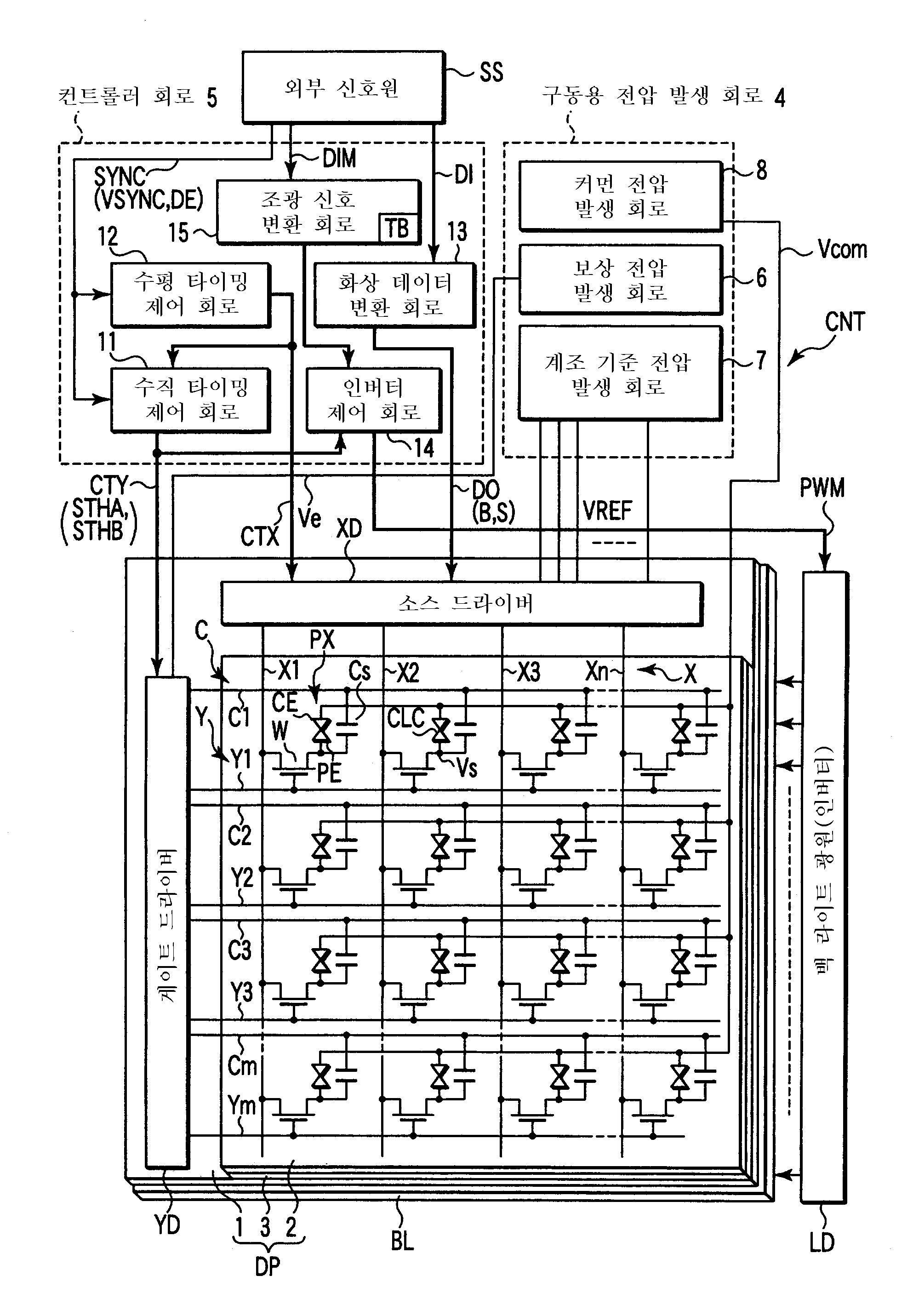
표시 제어 회로, 표시 제어 방법, 및 액정 표시 장치
授权日
1900-01-01
公开(公告)号
KR1020060051289A
申请日
2005-09-14
公开(公告)日
2006-05-19
当前申请(专利权)人
가부시키가이샤 저팬 디스플레이 센트럴
发明人
KAWAGUCHI, SEIJI
简单同族
JP2006084710A | KR100785553B1 | KR1020060051289A | TW200629208A | TWI307490B | US20060055661A1 | US7864155
简单同族成员数量
7
简单同族被引用专利总数
61
诉讼案件数
0
法律状态/事件
未缴年费
抱歉,您的浏览器不支持PDF预览,请点击链接下载PDF文件