专利数据库
统计分析
产业报告
专利数据监控
产业人才
行业动态
产业政策法规
维权援助
个人中心
详情
文本
图像
标题
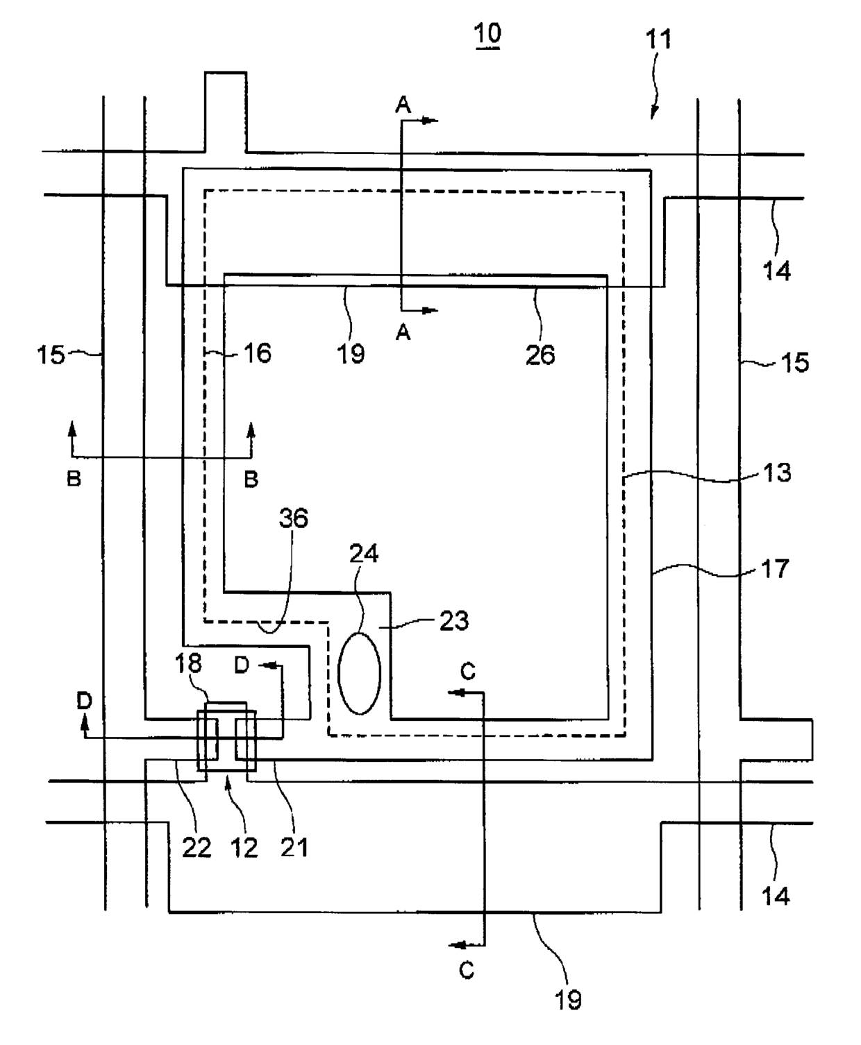
박막 트랜지스터 액정 표시 장치
授权日
2005-12-02
公开(公告)号
KR100535531B1
申请日
2001-11-09
公开(公告)日
2005-12-08
当前申请(专利权)人
엔엘티 테크놀로지 가부시키가이샤
发明人
TSUBO,YUMIKO
简单同族
JP2002148656A | JP4966444B2 | KR100535531B1 | KR1020020036743A | TW550431B | US20020057396A1 | US6831295
简单同族成员数量
7
简单同族被引用专利总数
57
诉讼案件数
0
法律状态/事件
未缴年费 | 权利转移
抱歉,您的浏览器不支持PDF预览,请点击链接下载PDF文件